Microsoft reportedly working on fitness tracking wearable
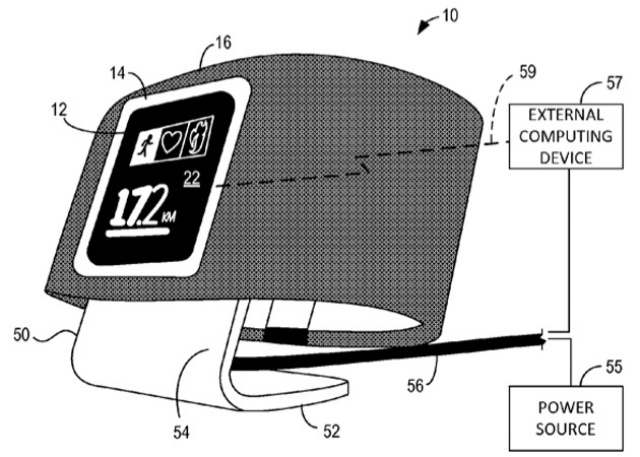
By Robin-Leigh Chetty 3 July 2014 | Categories: newsAt this stage, its pretty safe to say that wearables are the en vogue device trend within the technology market, with every manufacturer releasing its own interpretation. Now Microsoft looks set to join the wearable movement, as reports suggest the company is currently manufacturing a fitness tracking wristband for release in Q4 this year.
Rumours regarding the release of a Microsoft-specific wearable device begin last week, with Paul Thurrott of Winsupersite confirming reports yesterday. Thurrott went on to state that his sources revealed Microsoft's new wearable is not a smartwatch, such as te Sony Smartwatch 2 (review) or Android Wear range of devices. Instead it will be a smartband device, similar to the functionality of the Samsung Gear Fit, designed to track users' movement and fitness activities, as well as including a limited range of smartphone notifications.

The rumoured move by Microsoft does not seem all that surprising, given the vested interest that tech companies have placed in having their own wearable device running a uniquely customised version of their OS. The reason that Microsoft's fitness tracking wristband seems such an interesting prospect, is the fact that it will reportedly be compatible across a variety of devices, including Android, iOS and Windows Phone. If that proves to be true, it will certainly give Microsoft's wearable a foot up the competition, which often offer a limited level of connectivity. An example of this, is the Sony Smartband (review), which is only compatible with a select range of Android-powered devices.

If this report comes to fruition, and Microsoft are indeed releasing their own fitness tracker, one also have to question why it has taken this long. Taking all of this into account, it brings into question another issue, that being whether or not Microsoft will be entering the smartwatch tier within the wearable market. We'll be sure to keep you up to date on any new developments coming out of Redmond.
Most Read Articles

Have Your Say
What new tech or developments are you most anticipating this year?

